Mexen Flow téglalap alakú slim zuhanytálca 90 x 70 cm, fehér fényes - 46R107090

Mexen Flow téglalap alakú slim zuhanytálca 90 x 70 cm, fehér fényes - 46R107090

  • Fürdőszoba Napok
Mexen Flow téglalap alakú slim zuhanytálca 90 x 70 cm, fehér fényes - 46R107090
search
  • Mexen Flow téglalap alakú slim zuhanytálca 90 x 70 cm, fehér fényes - 46R107090
  • Mexen Flow téglalap alakú slim zuhanytálca 90 x 70 cm, fehér fényes - 46R107090
  • Mexen Flow téglalap alakú slim zuhanytálca 90 x 70 cm, fehér fényes - 46R107090
  • Mexen Flow téglalap alakú slim zuhanytálca 90 x 70 cm, fehér fényes - 46R107090
  • Mexen Flow téglalap alakú slim zuhanytálca 90 x 70 cm, fehér fényes - 46R107090
  • Mexen Flow téglalap alakú slim zuhanytálca 90 x 70 cm, fehér fényes - 46R107090
Mexen Flow téglalap alakú slim zuhanytálca 90 x 70 cm, fehér fényes - 46R107090
Mexen Flow téglalap alakú slim zuhanytálca 90 x 70 cm, fehér fényes - 46R107090 Mexen Flow téglalap alakú slim zuhanytálca 90 x 70 cm, fehér fényes - 46R107090 Mexen Flow téglalap alakú slim zuhanytálca 90 x 70 cm, fehér fényes - 46R107090 Mexen Flow téglalap alakú slim zuhanytálca 90 x 70 cm, fehér fényes - 46R107090 Mexen Flow téglalap alakú slim zuhanytálca 90 x 70 cm, fehér fényes - 46R107090 Mexen Flow téglalap alakú slim zuhanytálca 90 x 70 cm, fehér fényes - 46R107090
Akryl+ Akryl+
Megerősített alap Megerősített alap
Ultralapos Ultralapos
Márka:
Sorozat:
Ean:
5905315950062
Index:
46R107090
Hosszabb oldal:
90 cm
Rövidebb oldal:
70 cm
Magasság:
4 cm
Szín:
Fehér
Szín - Fehér - ()
Felület - Fényes - ()

Mexen Flow téglalap alakú slim zuhanytálca 90 x 70 cm, fehér fényes - 46R107090

A termék specifikációja:

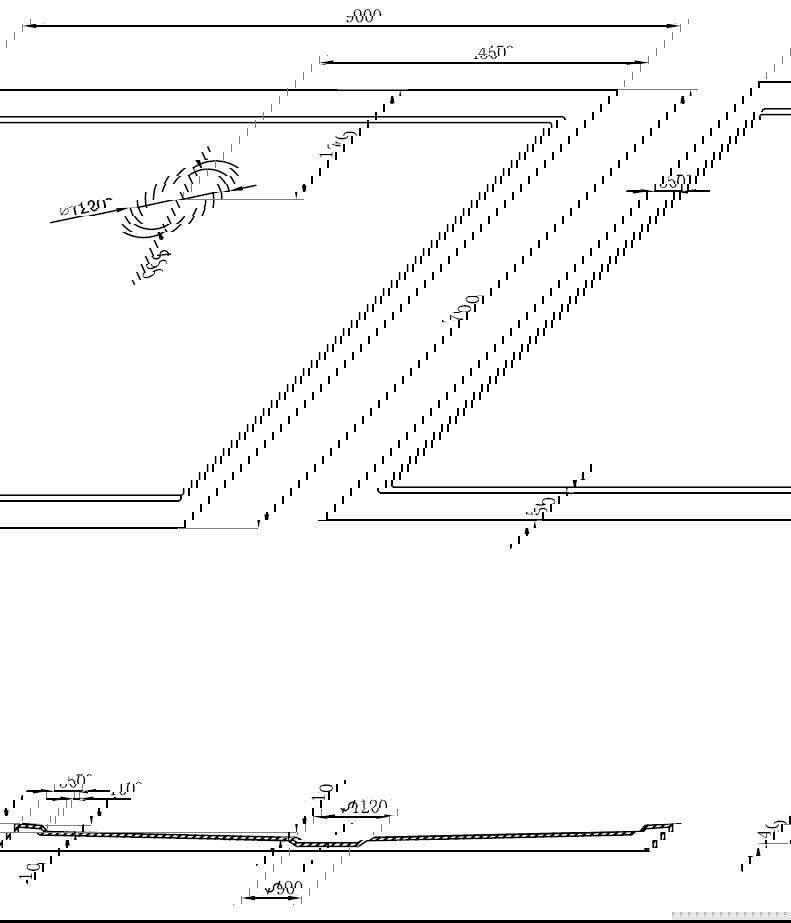
Méret: 90x70x4 cm

Szín: Fehér fényes

Típus: Téglalap alakú, Slim

Anyag: Szaniter akril

Megerősített alj

Leeresztő átmérő: 90 mm

A zuhanytálcához nem tartozik szifon

A termékben használt innovatív megoldások

Akryl+

Az akril használata a fürdőszobában nagyon praktikus megoldás. Az akril jól tartja a víz hőmérsékletét, megakadályozva a gyors lehűlést. Emellett akusztikai tulajdonságokkal is rendelkezik, így csökkenti a zajt a fürdőszobában.

Megerősített alap

A zuhanytálca alját további üvegszállal és HDF lemezzel erősítették meg, ami nemcsak tartósságot biztosít, hanem a fürdés közbeni biztonságot is garantálja. A megerősített alap hosszú távú használatot biztosít a zuhanytálcának.

Ultralapos

A zuhanytálcának alacsony pereme van, ami megkönnyíti a belépést és a kilépést a zuhanyból. Különleges és időtlen befejezést kölcsönöz a helyiségnek, komfortossá és esztétikussá téve a fürdőszobát a mindennapi relaxációhoz.

Kiképzett zuhanytálca

A zuhanytálca úgy lett megtervezve, hogy a víz szabadon le tudjon folyni a lefolyó irányába. Gyors és hatékony vízelvezetést biztosít a zuhanytálca felületéről, megelőzve a tócsák kialakulását és a fürdőszoba elárasztását.

PerfectClean

A termék sima felülettel rendelkezik, amely lenyűgöző csillogásával és esztétikus megjelenésével hódít. A mindennapi ápolás és a felületen keletkező szennyeződések tisztítása sokkal egyszerűbbé válik, és nem igényel erős tisztítószerek használatát.

2 év garancia

A termékre 2 éves garancia vonatkozik. Ha problémája van a vásárolt termékkel, javasoljuk, hogy lépjen kapcsolatba velünk a kapcsolatfelvételi űrlap segítségével vagy telefonon az ügyfélszolgálati számunkon.

Sorozat
Hosszabb oldal
90 cm
Rövidebb oldal
70 cm
Magasság
4 cm
Szín
Fehér
Felület
Fényes
Anyag
Akril
Mélység
12 mm
Leeresztő csatorna átmérője
90 mm
Szifon a készletben
Nem
Használati utasítás
Biztonsági információk
Garancia feltételei
Gyártó

Nem találták meg a választ?

Írj nekünk

A terméknek még nincs véleménye. Hagyd el véleményét!

Mexen Flow téglalap alakú slim zuhanytálca 90 x 70 cm, fehér fényes - 46R107090

Mexen Flow téglalap alakú slim zuhanytálca 90 x 70 cm, fehér fényes - 46R107090

Katalógusár: 56 612 Ft

45 290 Ft (ÁFÁ-val)

Olcsóbb 11 322 Ft

20%

A legalacsonyabb ár az elmúlt 30 naptól: 45 290 Ft

Akryl+ Akryl+
Megerősített alap Megerősített alap
Ultralapos Ultralapos
Márka:
Sorozat:
Ean:
5905315950062
Index:
46R107090
Hosszabb oldal:
90 cm
Rövidebb oldal:
70 cm
Magasság:
4 cm
Szín:
Fehér
Szín - Fehér - ()
Felület - Fényes - ()
Terhelés...